00 Basic 1 to 1 Interconnect

This is more or less a summarization of Chapter 4, of Arm Fundamentals of SoC textbook, with note author's input.

Synchronous Interconnect Protocol Devving

Single Word Transactions

Writing

To Support Single Word Write Transaction we can simply add

Signal Importance
WR Control Signal to Signify the intention to Write to a completer
WRDATA [BUS] Data Bus that holds the data to be Written

Notes

  • The WR signal and the WRDATA are recieved on the same rising edge.

Reading

To Support Single Word Write Transaction we can simply add

Signal Importance
WR Control Signal to Signify the intention to Write to a completer
WRDATA [BUS] Data Bus that holds the data to be Written
RD Control Signal to Signify the intention to Read from a completer
RDDATA [BUS] Data Bus To hold the data to be read by requestor

Notes

  • The RD signal is received at rising edge 0 cycle 0, then the RDDATA on the next rising edge

Pasted image 20251002163252.png

Important notes

Assumption & disadvantages
  • This assumes the completer can read/execute the request every clock cycle (1)
  • We’ve assumed until now that there is only is one location, that is, only one register, in the completer (2)
Asynchronous Reads

nothing prevents an interconnect protocol from permitting read data to be returned during cycle C (and, in fact, many protocols do allow this); however, this would imply that the overall read operation is asynchronous and we have stated that the interconnect we are building is synchronous.


Mitigating Drawback (2)

Signal Importance
WR Control Signal to Signify the intention to Write to a completer
WRDATA [BUS] Data Bus that holds the data to be Written
RD Control Signal to Signify the intention to Read from a completer
RDDATA [BUS] Data Bus To hold the data to be read by requestor
ADDR [BUS] Address Bus To Hold the address of which the data is to be written to

Waveform

Pasted image 20251002164032.png

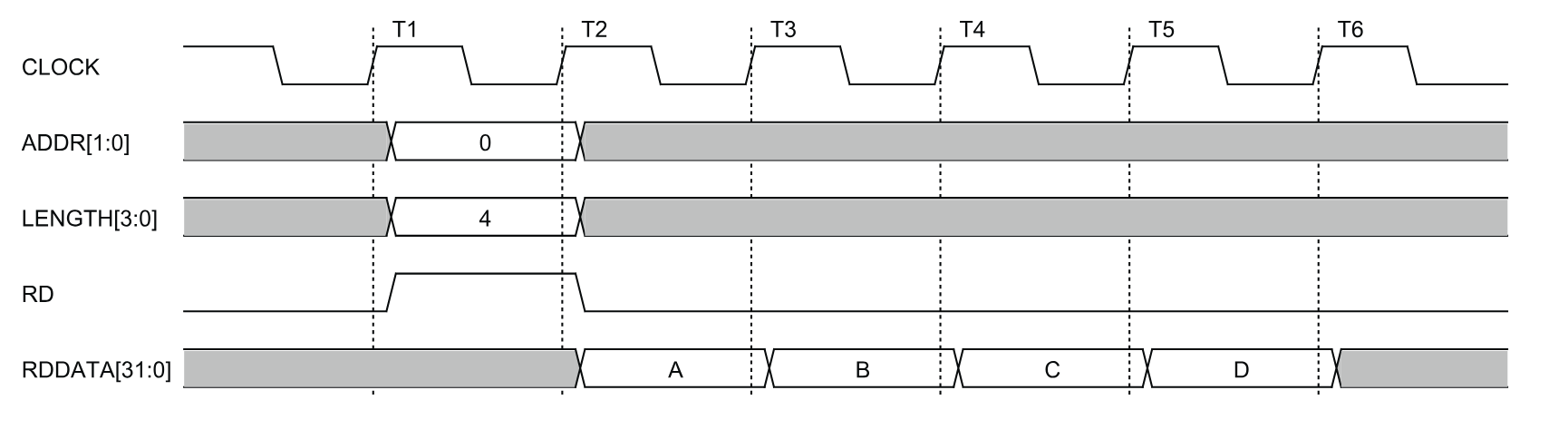
Burst Transactions

A Major Disadvantage with the current interconnect that its support for back-to-back rapid transaction is lack-luster and leaves clock cycles to be optimized.
In the general case of a completer with an N-cycle end-to-end read latency, the maximum data throughput will be:

To Mitigate this we can add a LENGTH Control Signal to signal to the completer how much data is given to it to write/read.

Signal Importance
WR Control Signal to Signify the intention to Write to a completer
WRDATA [BUS] Data Bus that holds the data to be Written
RD Control Signal to Signify the intention to Read from a completer
RDDATA [BUS] Data Bus To hold the data to be read by requestor
ADDR [BUS] Address Bus To Hold the address of which the data is to be written to
LENGTH Control Signal to Show how many words to read/write in a burst transaction

Read Waveform

Pasted image 20251002164741.png

Write Waveform

Pasted image 20251002164822.png

Backpressure

Completer Requestor Backpressure

We Know Assumption (1) is not true as the completer may need to process the request for many clock cycles.

Terminiology

The mechanism through which a completer communicates its unavailability to a requestor is referred to as backpressure and a requestor waiting on a completer’s acknowledgement in this context is said to be stalled

Write Transaction w/ Backpressure

To realize this feature, all we need is to implement a READY signal.

Signal Importance
WR Control Signal to Signify the intention to Write to a completer
WRDATA [BUS] Data Bus that holds the data to be Written
RD Control Signal to Signify the intention to Read from a completer
RDDATA [BUS] Data Bus To hold the data to be read by requestor
ADDR [BUS] Address Bus To Hold the address of which the data is to be written to
LENGTH Control Signal to Show how many words to read/write in a burst transaction
READY Control Signal From Completer to Requestor signaling that the Completer is busy carrying out a request
  • A transaction starts only when WR/RD and READY are both asserted in the same clock cycle.
Avoid Infinite Requestor Stalling

if a requestor wants to start a transaction, then it should assert its control signals and keep them asserted until the completer’s READY signal is asserted, Two Design Decesions are employed here:

  1. the requestor must not check the READY signal before deciding to assert its control signals because otherwise the completer may never know of the requestor’s intention to start a transaction
  2. transactions cannot be interrupted once started because a requestor cannot deassert its control signals early, and all data words must be transmitted for both entities to acknowledge the transaction has finished.
Waveform

Pasted image 20251002190522.png

Notice That the Completer Asserts/Deasserts the READY signal for each data write B C & D.

Read Transaction w/ Backpressure

Reading from completors may also incur many clock cycles, There needs to be a control signal that registers that the data within the RDDATA bus is valid.

For a read transaction, the RD signal does not convey the validity of the RDDATA bus, but rather the validity of the control signals relevant to starting a transaction (ADDR, LENGTH). We need an additional completer-to-requestor signal to convey the validity of the RDDATA bus.

  • So RDDATAVALID is born: once completer fetches data, the RDDATAVALID, is asserted.
Signal Importance
WR Control Signal to Signify the intention to Write to a completer
WRDATA [BUS] Data Bus that holds the data to be Written
RD Control Signal to Signify the intention to Read from a completer
RDDATA [BUS] Data Bus To hold the data to be read by requestor
ADDR [BUS] Address Bus To Hold the address of which the data is to be written to
LENGTH Control Signal to Show how many words to read/write in a burst transaction
READY Control Signal From Completer to Requestor signaling that the Completer is busy carrying out a request
RDDATAVALID Control Signal from completor to requestor signaling that the data in the RDDATA BUS is ready to be read.
Waveform

Pasted image 20251002192210.png

Requestor Completer Backpressure

Why would a Requestor Exert Backpressure on Completers?

after all, shouldn’t a requestor know what it wants to write to the completer before initiating a burst transaction?

This is the case when only a small amount of data needs transmitting, but if large amounts of data are involved some requestors may not know the extent of the payload they want to transmit at the outset. A common example would be a requestor reading from a FIFO.

Pasted image 20251003182710.png

Write Transaction

To Implement Requestor to Completer Backpressure, you can do this by deasserting the WR signal then asserting it again.

Pasted image 20251003183017.png

Read Transaction

We cannot Approach it as Write Transaction

Asserting RD when all of the data words from the previous transaction have not yet been received would be equivalent to the requestor telling the completer it wanted to start a new transaction as soon as the current one had terminated

Some protocols allow requestors to signal for completers future transactions, this done by giving the Completer a notice so that it can ensure its internal buffers accommodate the burst transaction.

We are not those protocols so we will add a new signal RDDATAREADY which when deasserted by the requester, the requester can stall the completer, and the completer will assert\hold the current data in RDDATA bus until RDDATAREADY is asserted again.

Pasted image 20251003184041.png

Final Interconnect Protocol Interface Signals

Signal Importance
WR Control Signal to Signify the intention to Write to a completer
WRDATA [BUS] Data Bus that holds the data to be Written
RD Control Signal to Signify the intention to Read from a completer
RDDATA [BUS] Data Bus To hold the data to be read by requestor
ADDR [BUS] Address Bus To Hold the address of which the data is to be written to
LENGTH Control Signal to Show how many words to read/write in a burst transaction
READY Control Signal From Completer to Requestor signaling that the Completer is busy carrying out a request
RDDATAVALID Control Signal from completor to requestor signaling that the data in the RDDATA BUS is ready to be read.
RDDATAREADY Control Signal from requestor to completer signaling that the completer needs to stall to wait for the requestor to read the next RDDATA word transaction.

Next on how to connect multiple requestors & completers: 01 Interconnect Fabric